Montage sondes Terratrip
L'utilisation d'un Terratrip de la gamme "Plus" entraine obligatoirement la pose de, au moins, une sonde de lecture de rotation afin de calculer la
distance parcourue.
A l'inverse, un GeoTrip peut effectuer la mesure de distance grâce uniquement au signal GPS mais il est toujours plus judicieux de monter aussi
une sonde de mesure de rotation. Ceci afin de palier à la perte de reception du signal GPS.
Ou alors pour avoir la possibilité de se calquer sur l'étalonnage utilisé lors de l'élaboration du Roadbook.
La mesure peut être faite sur le câble de compteur, ou un autre point tournant. Le choix de la sonde est lié à l'endroit d'installation souhaité.
|
Type de capteur
|
| Sonde T005(A) |
Sonde T006 |
Sonde T007(EC) |
Sonde T014 |
 |
 |
 |
 |
| Sonde "standard", dite de roue |
Sonde de cable de compteur |
Sonde de sortie de boite de vitesse |
Sonde DSI ou électronique |
La sonde T005(A) (M14x1) est polyvalente et doit être installée à proximité d'un point de rotation.
La sonde T006 est montée sur le cable de compteur.
La sonde T007 (M22) est placée entre la sortie de boite de vitesses (japonaise ou américaine) et le cable de compteur.
La sonde T014 est une interface pour connecter une sonde électronique de voiture moderne ou relier une sonde classique vers 2 Terratrips.
|
Afin d'éviter des dérives de mesure de distance lors de patinages, il est préférable de placer la sonde sur une roue "traînée".
De ce fait, l'emploi de la sonde type T005 est à privilégier.
|
Le Terratrip offre la possibilité de cabler deux sondes (Probe 1 ou Probe 2) afin d'apporter un mode de secours au cas où la première serait défectueuse.
Le montage de deux sondes peut aussi permettre de vérifier leur bon fonctionnement par comparaison sur une même distance. Il est préférable de monter deux types T005
sur le même élément tournant afin de ne pas à avoir besoin de changer de calibre lors du passage d'une sonde vers l'autre.
Le choix de la calibration est à utiliser plutôt lors d'un changement de diamètre de roue (roues gonflées/dégonflées par exemple).
|
L'élement tournant peut comporter plusieurs cibles.
Par exemple, une sonde T005 peut être installée en regard d'une fixation de moyeu. Son montage doit être coaxiale par rapport à l'axe des boulons et la surface avant de la sonde doit être parallèle par rapport aux têtes de
boulon. Il est préférable de supprimer les entailles ou autres marques se trouvant sur les têtes de boulon.
Retirer la saleté, la rouille et les accumulations de graisse de la surface intérieure de l'ensemble disque/moyeu.
|
|
• La tête de boulon doit être en acier. La sonde détecte l'aluminium, mais l'entrefer est alors
réduite de 50 %.
• Les boulons à têtes rondes, ou Allen, ne sont pas des cibles appropriées permettant à la sonde de détecter.
• La tête de boulon doit faire au moins 80 % du diamètre de la sonde.
|
Visser la sonde jusqu'à ce qu'elle touche la tête d'un des boulons puis dévisser de :
• T005: 1 à 1,5 tours pour entrefer entre 1 et 1.5mm
• T005A: 1 à 3,5 tours pour entrefer entre 1 et 3.5mm
Serrer le contre-écrou suivant un couple maxi de 5ft.lbs, soit 6.8mN.
Dans le cadre d'un raid en 205, privilégier le montage d'un sonde standard T005 sur les roues arrières qui seront
moins soumises à l'influence d'éventuels patinages. Cet emplacement, au plus proche de la laison transmission/sol, permet de gagner en précision.
Le Terratrip offre la possibilité de brancher deux sondes de mesure mais une seule est suffisante pour assurer la mesure.
La sonde n°2 est donc facultative. Mais elle peut être utilisée en secours, si la première est défectueuse, ou lorsqu'il y a besoin de deux
compteurs distincts suivant la configuration de la voiture (roues gonflées/dégonflées par exemple). Ou simplement pour effectuer une comparaison
de la distance mesurée de chaque sonde.
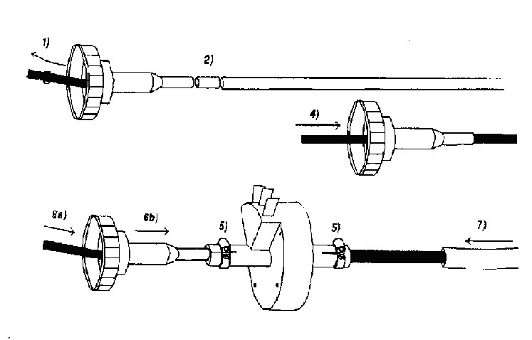
La sonde de compteur type T006 s'insère sur le cable de compteur après avoir coupé la gaine (raccourcir de 40mm).
Ce choix n'est pas idéal sur une traction telle qu'une 205 puisque la mesure sera faite en sortie de boite de vitesse et donc soumis à des erreurs en cas de patinage des roues.
La sonde de la marque Brantz reprends le principe et fonctionnement de la sonde T006.
Sonde Brantz
|
Montage sonde Brantz
|
La sonde T007 se monte directement sur la boite de vitesse en lieu et place du cable de compteur d'origine. Il convient donc de vérifier que la fixation
sur le carter de boite soit compatible avec celle de la sonde T007.
Le cable de compteur vient se brancher simplement sur la sortie de sonde.
Ce montage est généralement possible sur les véhicules japonnais et américains.
|
Sonde T007(EC)
|
|
Branchement sur Terratrip (Plus) V1,V2,V3
|
|
Dans tous les cas, placer la sonde et les câbles à distance des circuits haute tension et/ou des câbles d'allumage et de l'alternateur.
Il convient d'éloigner les cables de la radio VHF qui risquerait d'être parasitée.
|
|
Sonde T005(A)
|
|
Branchement sonde 1: (vue en probe 1)
Fil marron vers borne 1 (sortie alimentation vers sonde)
Fil bleu vers borne 2
Branchement sonde 2: (vue en probe 2)
Fil marron vers borne 1 (sortie alimentation vers sonde)
Fil bleu vers borne 4
La(les) sonde(s) est(sont) alimentée(s) par le Terratrip par la borne 1.
Le fil bleu est le fil signal.
|
Le branchement du Terratrip est repris en page Prép'Nav/branchement Terratrip
Les visuels des prises Terratrip est disponible en page Prép'Nav/notice Terratrip
|
|
Sonde T006 ou T007
|
|
Branchement sonde:
Fil noir vers borne 11 (masse Terratrip)
Fil rouge vers borne 10 (sortie alimentation +5V vers sonde)
Fil blanc vers borne 2 (vue en probe 1) ou borne 4 (vue en probe 2)
La sonde est alimentée par le Terratrip par la borne 10.
Le fil blanc est le fil signal.
|
Le branchement du Terratrip est repris en page Prép'Nav/branchement Terratrip
Les visuels des prises Terratrip est disponible en page Prép'Nav/notice Terratrip
|
|
Sonde DSI T014
|
|
Branchement sonde:
Fil noir vers borne 11 (masse Terratrip)
Fil rouge vers borne 7 (+12V Terratrip)
Fil vert vers borne 2 (vue en probe 1) ou borne 4 (vue en probe 2)
Fil bleu vers sonde électronique
La sonde doit être alimentée en 12V pour fonctionner.
Le fil bleu est le fil signal venant de la sonde électronique voiture.
Le fil vert est le fil signal vers le terratrip.
|
Note: Montage pour sonde de compteur électronique 3fils.
Pour autre montage, voir Prép'Nav/branchement DSI Terratrip |
Le branchement du Terratrip est repris en page Prép'Nav/branchement Terratrip
Les visuels des prises Terratrip est disponible en page Prép'Nav/notice Terratrip
|
|
La sonde DSI T014 permet de corriger le signal, via l'usage du potentiomètre, provenant de le sonde électronique.
Toutefois, certaines sondes peuvent être compatibles avec le Terratrip et n'ont pas besoin d'interface DSI.
Il convient de conserver son alimentation électrique et de relier son signal de sortie à la borne 7(probe 1) ou 12(probe 2).
Sonde électronique de Peugeot 106 sur boite MA →
|
|
Le Terratrip doit être calibré après le montage de la sonde, voir Prép'Nav/étalonnage Terratrip V1,V2,V3
|
Branchement sur Geo&Terratrip Plus V4,V5
|
|
Dans tous les cas, placer la sonde et les câbles à distance des circuits haute tension et/ou des câbles d'allumage et de l'alternateur.
Il convient d'éloigner les cables de la radio VHF qui risquerait d'être parasitée.
|
|
Sonde T005(A)
|
|
Branchement sonde 1: (vue en probe 1)
Fil marron vers borne 1 (sortie alimentation vers sonde)
Fil bleu vers borne 7
Branchement sonde 2: (vue en probe 2)
Fil marron vers borne 1 (sortie alimentation vers sonde)
Fil bleu vers borne 12
La(les) sonde(s) est(sont) alimentée(s) par le Terratrip par la borne 1.
Le fil bleu est le fil signal.
|
Le branchement du Terratrip est repris en page Prép'Nav/branchement Terratrip
Les visuels des prises Terratrip est disponible en page Prép'Nav/notice Terratrip
|
|
Sonde T006 ou T007
|
|
Branchement sonde:
Fil noir vers borne 6 (masse Terratrip)
Fil rouge vers borne 11 (sortie alimentation +5V vers sonde)
Fil blanc vers borne 7 (vue en probe 1) ou borne 12 (vue en probe 2)
La sonde est alimentée par le Terratrip par la borne 11.
Le fil blanc est le fil signal.
|
Le branchement du Terratrip est repris en page Prép'Nav/branchement Terratrip
Les visuels des prises Terratrip est disponible en page Prép'Nav/notice Terratrip
|
|
Sonde DSI T014
|
|
Branchement sonde:
Fil noir vers borne 6 (masse Terratrip)
Fil rouge vers borne 5 (+12V Terratrip)
Fil vert vers borne 7 (vue en probe 1) ou borne 12 (vue en probe 2)
Fil bleu vers sonde électronique
La sonde doit être alimentée en 12V pour fonctionner.
Le fil bleu est le fil signal venant de la sonde électronique voiture.
Le fil vert est le fil signal vers le terratrip.
|
Note: Montage pour sonde de compteur électronique 3 fils.
Pour autre montage, voir Prép'Nav/branchement DSI Terratrip |
Le branchement du Terratrip est repris en page Prép'Nav/branchement Terratrip
Les visuels des prises Terratrip est disponible en page Prép'Nav/notice Terratrip
|
|
La sonde DSI T014 permet de corriger le signal, via l'usage du potentiomètre, provenant de le sonde électronique.
Toutefois, certaines sondes peuvent être compatibles avec le Terratrip et n'ont pas besoin d'interface DSI.
Il convient de conserver son alimentation électrique et de relier son signal de sortie à la borne 7(probe 1) ou 12(probe 2).
Sonde électronique de Peugeot 106 sur boite MA →
|
|
Le Terratrip (Plus ou GeoTrip) doit être calibré après le montage de la sonde, voir Prép'Nav/étalonnage Terratrip V4,V5
|
Fiches téléchargeables.pdf
|
Les notices des Terratrips sont disponibles en page Prép'Docs/notices Terratrip
|